Напольно-потолочные кондиционеры представляют собой универсальное решение для кондиционирования воздуха в различных помещениях. Они могут быть установлены как на стене, так и на потолке, что делает их идеальным выбором для пространств с ограниченной площадью. Приобретайте качественное оборудование по выгодным ценам прямо сейчас!
Напольно-потолочные кондиционеры в Красноярске

Не всегда существует возможность традиционного размещения внутреннего блока кондиционера на стене помещения. В этом случае целесообразно приобретать напольно-потолочный кондиционер, который предлагает большую свободу при выборе места монтажа.
Ситуации, в которых напольно-потолочный кондиционер будет лучше:
- Торговый зал с плотно заставленными стенами под стенды – удобно монтировать внутренний блок горизонтально на потолок.
- Офисное помещение – скрытая от широкого обзора установка на полу под стенкой обеспечит равномерное распределение воздуха по помещению. Направленный поток так же способен зонировать объем помещения на две части, создавая тепловую завесу или струю прохладного воздуха.
- В отсутствие подвесного потолка, где можно было бы поместить кассетный блок, идеальной заменой будет напольно-потолочный кондиционер.
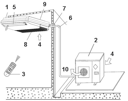
Забор воздуха выполняется с лицевой стороны внутреннего блока через широкую решетку, за которой скрывается фильтр грубой очистки. За счет большей площади входной решетки и узкого выходного сопла с жалюзи создается направленный ламинарный поток в виде плоской струи с постепенным рассеиванием на значительном удалении от блока.
Варианты установки внутреннего блока напольно-потолочного кондиционера
В комплект подобных агрегатов входят те же основные узлы, которые характерны для стандартных сплит-систем. Внутренний и наружный блоки, соединенные между собой магистралью для циркуляции фреона. Основное различие заключается именно в форме внутреннего блока, дающей возможность использовать различные варианты крепления.
По сути, кондиционеры напольно-потолочного типа могут крепиться практически на любой поверхности.
Наиболее часто встречаются следующие схемы монтажа:
- На поверхности стены в непосредственной близости от пола. В этом случае в режиме охлаждения поток воздуха подается вдоль поверхности стены вверх, а при работе на нагрев вниз и вдоль поверхности пола. Данная схема размещения позволяет равномерно распределить воздушные потоки по всему помещению, поддерживать приблизительно одинаковую температуру во всех зонах комнаты. Кроме того, такая установка дает возможность прямого воздействия холодного потока непосредственно на человека, что достаточно часто является причиной возникновения простудных заболеваний у человека при эксплуатации традиционных сплит систем.
Подобная установка рекомендовано для небольших помещений, в которых находится большое количество людей или предметов.
- Потолочное крепление в основном востребовано в торговых центрах и других помещениях, отличающихся наличием большого количества витражей, зеркальной отделки. В этом случае монтаж на стену может существенно нарушить дизайн помещения, а иногда невозможен по техническим причинам. Все воздушные потоки при работе в различных режимах направляются вдоль поверхности потолка.
- Помимо этих двух основных схем возможен монтаж напольно-потолочного кондиционера для работы на два смежных помещения. Данная опция возможна для моделей с выходным воздушным отверстием на задней панели. Монтаж осуществляется путем врезки внутреннего блока агрегата в межкомнатную перегородку, при этом обязательно учитывайте ее толщину, для некоторых моделей существуют ограничения.